跳到主要内容

TV HAT

关于TV HAT

TV HAT

树莓派TV HAT

通过树莓派TV HAT,您可以在树莓派上使用板载 DVB-T 和 DVB-T2 调谐器接收地面数字电视广播系统。有了这块板,您就可以在树莓派上接收和观看电视,或者创建一个电视服务器,通过网络将接收到的电视流传输到其他设备。TV HAT 可与任何 40 针树莓派电路板一起使用,作为网络上其他设备的服务器。在树莓派上接收和观看电视的性能可能会有所不同,我们建议使用树莓派2或更高版本。

主要功能

  • 索尼 CXD2880 电视调谐器
  • 支持的电视标准 DVB-T2、DVB-T
  • 接收频率 甚高频三、甚高频四、甚高频五
  • 频道带宽
    • DVB-T2:1.7MHz、5MHz、6MHz、7MHz、8MHz
    • DVB-T:5MHz、6MHz、7MHz、8MHz

关于DVB-T

警告

电视天线罩不支持北美使用的数字电视标准 ATSC。

地面数字视频广播(DVB-T)是基于欧洲的 DVB 联盟标准,用于地面数字电视广播传输。世界上还有其他数字电视标准,如北美使用的 ATSC。不过,电视天线罩只支持 DVB-T 和 DVB-T2 标准。

DVB-T 地图

已实施或采用的 DTT 系统(资料来源:DVB/EBU/BNE DTT 部署数据库,2023 年 3 月)

安装

按照我们的入门文档,使用最新版本的树莓派OS设置树莓派。

将天线适配器连接到 TV HAT,并将适配器指向远离 USB 端口的方向,将 HAT 轻轻压在树莓派的 GPIO 引脚上,然后将垫片放在 HAT 的两到三个角上,并通过安装孔拧紧螺丝将其固定到位。然后将TV HAT 的天线适配器连接到电视天线的电缆上。

我们推荐用于解码码流(称为多路复用,简称复用)和查看内容的软件称为 TVHeadend。TV HAT 一次可解码一个多路复用器,每个多路复用器可包含多个频道供选择。内容既可以在连接了 TV-HAT 的树莓派上观看,也可以发送到同一网络上的其他设备上。

启动树莓派,然后打开终端窗口,运行以下两条命令安装 tvheadend 软件:

sudo apt update
sudo apt install tvheadend

安装 tvheadend 时,系统会要求你选择一个管理员账户名和密码。你稍后会用到这些信息,所以一定要选择你能记住的。

在网络上的另一台电脑上,打开网页浏览器,在地址栏中输入以下内容:http://raspberrypi.local:9981/extjs.html

这将连接到运行在树莓派上的 tvheadend。通过浏览器连接到 tvheadend 后,系统会提示你使用在树莓派上安装 tvheadend 时选择的账户名和密码登录。

这时会出现一个设置向导。

首先会要求你设置 tvheadend 使用的语言,然后设置网络、用户和管理员访问权限。如果你没有特定的偏好,请将 "允许网络" 留空,并在用户名密码字段中输入星号(*)。这样,任何连接到本地网络的人都可以访问 tvheadend

您会看到一个名为 "网络设置" 的窗口。在 网络 2 下,您应该看到 Tuner: Sony CDX2880 #0 : DVB-T #0网络类型请选择 DVB-T Network。下一个窗口是将预定义的多路复用器分配到网络;在这里,您可以选择要接收和解码的电视流。在网络 1 下,对于预定义的多路复用器,选择本地电视发射机。

注意

您可以通过 Freeview 网站找到本地发射台。输入您的邮政编码,查看哪个发射台能为您提供良好的信号。

单击 "保存并下一步" 后,软件将开始扫描所选的多路复用器,并显示进度条。大约两分钟后,您应该会看到如下信息

Found muxes: 8
Found services: 172

在下一个名为 "服务映射" 的窗口中,勾选所有三个方框: 映射所有服务创建提供商标签创建网络标签。您应该会看到可以收看的电视频道列表,以及当前正在播放的节目。

要在浏览器中观看电视频道,请单击频道列表左侧的小电视图标,就在 i 图标的右侧。这将弹出一个浏览器内媒体播放器。根据浏览器内置的解码设施和播放的流媒体类型,您可能会发现播放会比较生涩。在这种情况下,我们建议使用本地媒体播放器作为播放应用程序。

要在本地媒体播放器(如 VLC)中观看电视频道,需要将其下载为流媒体。点击频道列表左侧的 i 图标,弹出该频道的信息面板。在这里你可以看到一个可以下载的流文件。

注意

许多应用程序都支持 tvheadend,例如 iOS 的 TvhClient,它可以从树莓派播放电视。

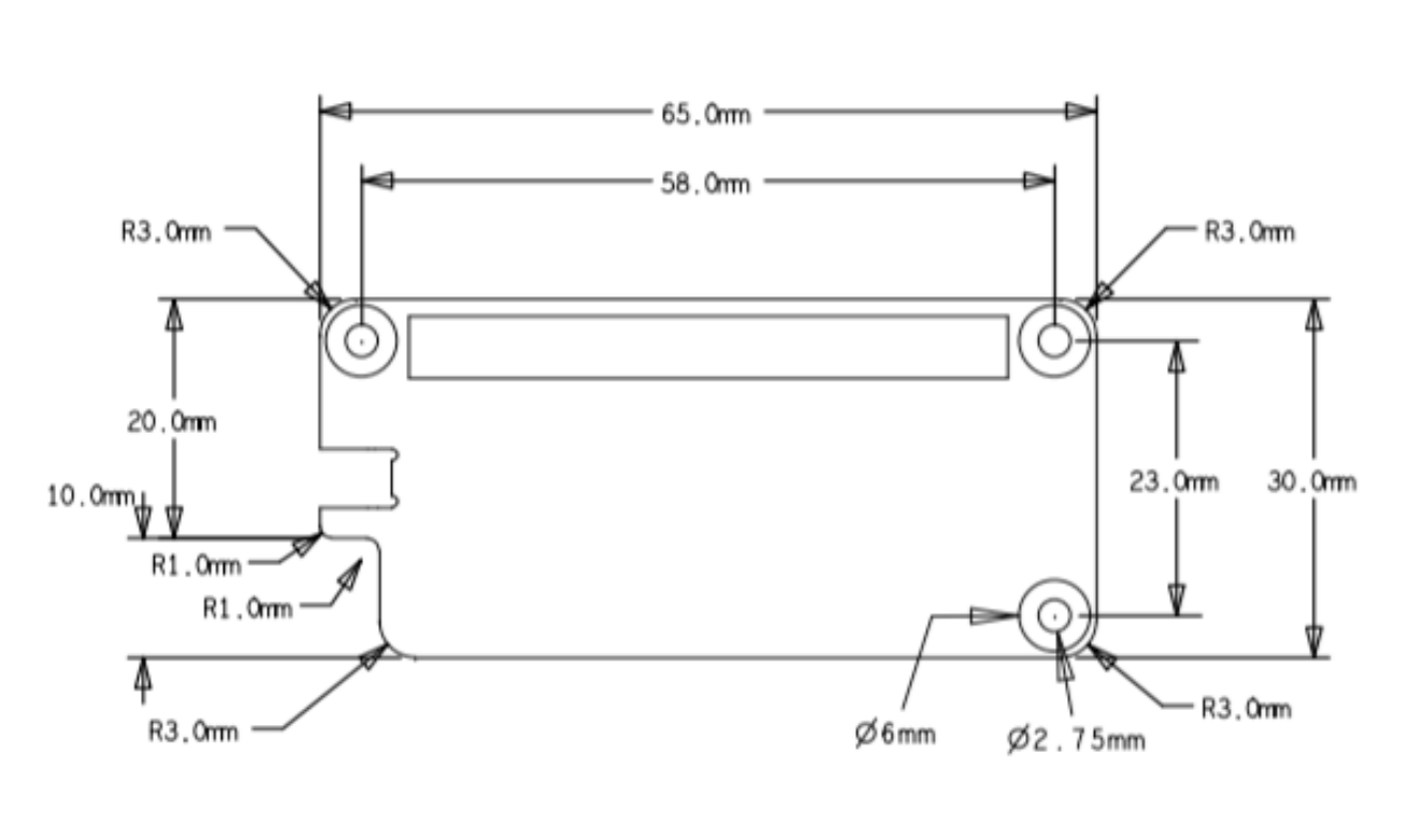
机械图

机械图

树莓派TV HAT


中文翻译版以英文版相同知识授权方式共享:CC-BY-SA 4.0